
大家好,这里是楼花网。
2025年,延庆仅3个新盘取证入市,其中住总山澜赋4月15日开盘。
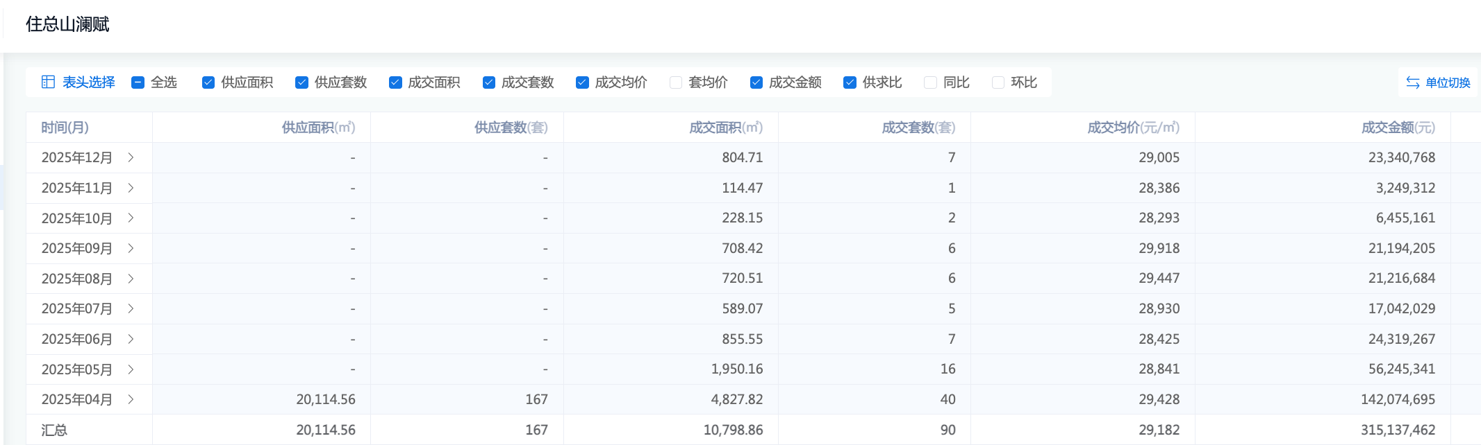
该盘共167套房源,年内累计网签90套,去化过半。
核心数据:
· 全年网签90套,去化率过半
· 成交均价2.92万/㎡,成交总额3.15亿
· 成交价是楼面价2.5倍,利润率惊人
周正如何把延庆房卖出2.9万?
地价对比:
· 延庆宅地楼面价普遍1-1.2万/㎡
· 山澜赋成交价2.92万/㎡
· 溢价率超150%,创区域纪录
定价策略:
1. 不参与价格战:延庆竞品均价2.5-2.7万
2. 用产品支撑溢价:做延庆“最好看的房子”
3. 控制流速:不追求快销,追求利润

住总山澜赋所在该地块为北京住总房地产2024年10月15日摘得,成交价2.46亿元。
项目总建筑面积近3.1万㎡,容积率约1.6,规划建设7栋4-8层电梯洋房,共167套住宅。
主推115—135㎡三居四居,销售指导价3万元/㎡。
2025年4月15日取得预售许可证,3天后的周末正式开盘,当月即有40套网签转化。
开盘5个月左右,网签总金额已覆盖地价款。
能够快速收回拿地成本,很大原因是住总山澜赋的楼面价只有1.18万元/㎡。
而一河之隔的中建臻源府,楼面价达到1.55万元/㎡。
住总山澜赋2.9万+的网签均价,相当于楼面价的2.5倍。
在这个成交价下,完成四成左右的房源去化,即可收回土地成本。

项目主力户型为115-135㎡,产权得房率80%左右:
1#楼8层两个单元共32户,其中建面114.98㎡三室两厅,套内面积92.6㎡,得房率约80.5%。
2#楼4层两个单元共12户,其中建面134.8㎡三室两厅,套内面积106.6㎡;建面117.1㎡三室两厅,套内面积92.61㎡。得房率均为79.1%。
3#楼8层两个单元共32户,其中建面128.49㎡三室两厅,套内面积103.6㎡,得房率80.6%。
作为在延庆山澜阙府、山澜樾府项目之后的重要迭代产品,山澜赋通过“拿地即样板间开放”的方式,全面展示项目户型布局和装修标准。
层高3米+,南向通面宽阳台+北向设备平台,端户有大尺度侧边飘窗,近100%空间使用率。
主力135户型南向四开间,客厅IMAX转角270度全景落地窗,主卧近50平米行政套房设计,阳光主卫+书房+衣帽间。


项目位于北京世园公园4号门对面,紧邻世园凯悦酒店。
周边教育、医疗、休闲等公服设施完备,北望妫水河,西接世园公园。
区域内主要规划用地为居住用地、商业商务用地、多功能用地、生产研发用地、教育科研用地,以及行政办公用地等。
项目南侧一街之隔是世园村项目,二期共247套住宅,2023年5月开盘,网签价2.55万元/㎡;
斜对面是碧桂园京源著,共1681户,最新价格约2.6万/㎡;
周边还有同为住总开发的山澜阙府和山澜樾府等,均已在尾盘阶段,网签价2.8万元/㎡左右。
最大的竞品是中建臻源府,两个项目分别位于妫水河的南北两岸,直线距离3公里左右,体量、容积率相当。
中建臻源府规划9栋4-9F住宅楼,全洋房社区,共318户,户型建面105-148㎡,南北均有大尺度赠送,综合使用率97%-98%。
上一篇:龙湖代建盘,内战一触即发
下一篇:璟贤瑞庭一年卖出326套!薛伟在房山杀出重围!