
大家好,这里是楼花网。
近日,东城金鱼池项目有新进展了。
核心事件:
东城金鱼池项目因涉及天坛建设控制地带,需上报国家文物局审批
开发单位福鑫地产,必须依法完成文物保护相关工作
信号:核心区豪宅开发,每一米都踩在历史红线之上
什么是“天坛建设控制地带”?
法规释义:
以天坛为核心,划定多层级保护范围
建设控制地带内,任何新建、改建、扩建都需文物部门严格审批
目的:保护文物本体安全、历史风貌与景观视廊
项目困境:
高度限制:建筑可能被限高,影响产品形态与货值
风格限制:外立面、色彩、材质需与天坛风貌协调
工期不定:上报国家文物局,批复时间不可控,可能延期数月甚至数年
价值悖论:
优势:紧邻天坛,无可复制的文化地脉
劣势:开发束缚极多,成本高昂、周期漫长
结论:顶级地段往往伴随着顶级的开发难度
2024年7月3日,河北鑫界以触顶摇号方式取得东城区金鱼池地块,成交价3.375亿元,溢价率25%。
拿地一周后,项目开发主体福鑫(北京)房地产开发有限责任公司成立,注册资本1000万元。
之后项目很长一段时间没有任何开发进展。
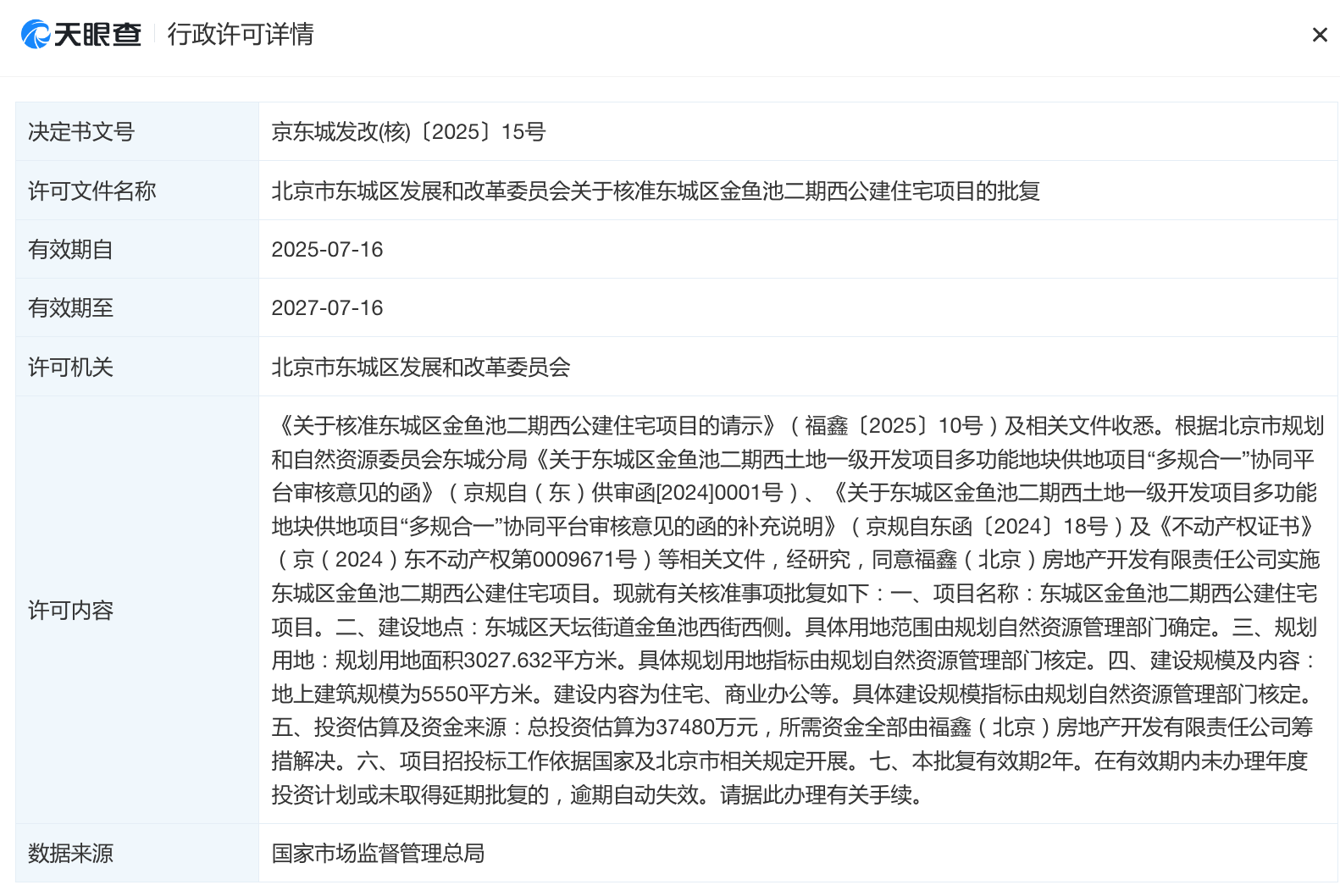
直到去年7月17日,福鑫(北京)房地产开发有限责任公司收到北京市东城区发展和改革委员会关于核准东城区金鱼池二期西公建住宅项目的批复,同意实施东城区金鱼池二期西公建住宅项目,总投资估算约3.75亿元。
批复有效期2年,在有效期内未办理年度投资计划或未取得延期批复的,逾期自动失效。
资料显示,北京东城区金鱼池二期西土地一级开发项目DC—0127—0101地块F2公建混合住宅用地,总土地面积3027.632平方米,建筑规模5550平方米,其中,住宅建筑面积仅1700平方米,自持公建3850平方米。
这是北京土地招拍挂出让住宅建面最小地块,也是当年北京土拍市场溢价率最高的一地块,期房指导价高达15.1万元/平方米。
金鱼池地块的位置可算是“一环”,向北1.5公里为天安门广场,南端紧邻十一中学金鱼池校区,东侧300米为地铁7号线桥湾站,西侧600米则为珠市口站,北侧为前门大街商业板块和北京坊商业项目。
1700平的住宅面积,在寸土寸金的内城,做小户型的概率极低,估计最多也就10套房子,有点形象展示的意义,预计将自行消化,不一定会对外销售。
而这块地的拿地成本就是3.375亿,住宅卖到20万/平米,勉强能收回土地成本。此外,地块还有3850平的商业,要求全部自持,年限为20年。
顺利的话,金鱼池地块住宅部分卖光覆盖土地成本,其余建筑营销等成本则需要河北鑫界靠运营商业来弥补。
河北鑫界成立于2005年,注册资本2000万元,初始股东为韩金平、王满库、李芬娣。2018年9月,该房企股东发生大换血,目前由水福来和李淑英分别持股50%。
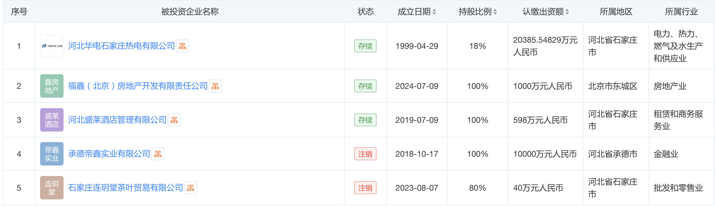
算上金鱼池的项目公司,河北鑫界名下共有5家子公司。承德帝鑫实业有限公司和石家庄连玥堂茶叶贸易有限公司现已注销,剩下河北华电石家庄热电有限公司(简称“华电石家庄热电”)和河北盛莱酒店管理有限公司为“存续”状态。

这其中华电石家庄热电最为知名,1999年成立,注册资本约11.325亿元,背后由国有控股的华电国际和河北鑫界分别持股82%和18%,水福来为副董事长,名下持股华电煤业集团有限公司0.8969%。
除了持股河北鑫界,水福来名下还有两家地产公司——涞水中诚房地产开发有限责任公司(持股85%)和保定九利房地产开发有限公司(持股100%)。
河北鑫界的另一位股东李淑英,投资足迹遍布建筑装饰、医养、基金管理,名下还持股了河北鑫界医养发展有限公司、雄县九利房地产开发有限公司、河北旺水股权投资基金管理有限公司、石家庄撷美苑建筑装饰工程有限公司。其中,鑫界医养曾在2021年以6645万元摘得一宗保定的社会福利用地。
上一篇:北京“封阳台”遭投诉了
下一篇:昌平未来城·星寰时代售楼处引爆,科技精英涌入!