
每一个楼花,都是独一无二的。这里是楼花网。
北京供地策略,没有按常理出牌。
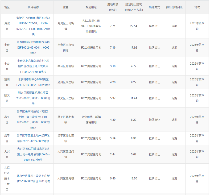
10月16日,北京第八批次土拍供地清单姗姗来迟。原本,它应该在9月底,或者国庆节之后公布。
今年2月底,北京规自委表示,2025年会按月发布供地清单。在实际操作中,它并没有按照这个规则执行。
本轮供地前后,北京又出现了蛮多“奇怪”的事情。
1、首次出现新老地块名单,同时在“拟供应商品住宅用地清单”里;
2、祈年大街地块预申请到期4天后,突然转正,并加了限制条款;
3、第八轮新地昌平未来科技城地块,公布清单和转正在同一天,但比进入预申请晚了一天;
4、昌平东小口0001地块空降预申请并转正后,并没有出现在第8批供地清单里;
5、大兴区西红门又见双子星,6038地块还没开拍,隔壁的6037地块就杀到了,令板块雪上加霜。
这五点信息折射出一个现象,北京供地规律,令人捉摸不透。
新老地块首次混在清单里
北京发布第八轮供地清单,有了新变化。
它首次将“新老地块”混在一起。
第八轮拟供9宗住宅用地,土地面积约44公顷,建筑规模约103万平方米。这9宗新地后面,跟着4宗第七轮进入预申请,但没有转正的老地。
这是北京供地史上的突破。
按照北京土拍的流程:1、进入供地清单;2、进入预申请;3、进入土地招拍挂项目;4、申请受理;5、竞拍。
在这五个环节里,只有进入“土地招拍挂项目”名单,才算是转正、上架。也就是说,一宗地块即便进入预申请,也没有进入保险箱。

而第七批未转正的5宗地中,有3宗进入预申请、2宗未进入预申请,但这次只保留了4宗地在供地清单里,顺义区老城平房(同仁堂)6017地块,则未出现。
只不过,显示的供地批次还是“第七批”。
这4宗依然保留在供地清单里的地块是:
1、房山北广阳城0015、0016、0019、0013、0020地块,占地5.56万平米、建面9.18万平米起拍价14.71万平米,已进入预申请,预计2025年11月下旬开拍;
2、朝阳区松榆里0001地块,占地3.47公顷、建面16.08万平米,起拍价42.5万平米,已进入预申请,预计2025年11月下旬开拍;
3、朝阳区永安里0401地块、占地3.47公顷、建面16.08万平米,曾出现2024年第二、五次,2025年第七次供地清单里,目前未进入预申请;
4、顺义15号线顺西路0318-1地块,占地3.1公顷、建面4.34万平米,目前未进入预申请;
从这点看,北京供地信息披露,似乎又进步了。
祈年地块明示建“四合院”
第七批供地清单,出现了一块“起死回生”的地块。
它就是东城区祈年大街0201、0202、0203、0204号地。
10月16日,它突然出现在“土地招拍挂项目”列表中,将于11月19日开拍,起始价19.5亿元,折合楼面价7.8万元/㎡。
四天前,它从预申请列表中消失了。当时,它的预申请时间已经截止,无人问津。
不料,它杀了个回马枪,且不在“预申请”和“供应清单”列表里。
此番操作,让人直呼"看不懂"。
更神奇的是,祈年地块上架时,还夹带了一份10月14日下发的补充说明。
里面有句话耐人寻味:"0202地块应严格遵循北京老城风貌、传统四合院形态及文物保护等要求进行建设,以优化片区街巷肌理,落实老城高质量发展。禁止通过高低配的方式建造别墅及私家庄园。"
0202地块占地0.64万平米,建筑高度只有3.3米,但没有写明地上建面多寡。花姐推算,其地上建面约0.25万平米,容积率0.39。

对于它的产品形态,最初的“多规合一”土拍文件写得很模糊:“4号地院落布局应与金台书院相呼应”,避免正南正北院落与金台书院之间,出现大量三角形空间。
金台书院是一座三进四合院,始建于清康熙三十九年(1700年)。4号地包括0201、和0202号地。其中,0202地块紧邻金台书院东侧。(详见《北京二环地王,隐现天价四合院》)
但这次补充说明里,直接点出0202地块的形态为“四合院”产品,并要求禁止“通过高低配方式,建筑别墅及私家庄园”
0202地块建筑高度只有3.3米,根本不可能规划出“高低配建筑”。
而四合院,算不算别墅或私家庄园呢?这又是一个很模糊的概念。在中国,是没有私家庄园的。
东小口地块"空降"
东小口镇贺村CP02-0405-0001地块很奇怪,没有出现在第八批供地清单里。
9月22日,它空降进入预申请列表,三天后,转正了。它占地3.134公顷,建面8.77万平米,起拍价28.09亿元。
按照以前的套路,东小口0001地块应重新进入供地清单。
但它比其他隔壁的0002、0005地块要幸运得多,直接转正。0002地块占地5.64公顷、建面15.62万平米;0005地块占地5.72公顷、建面15.42万平米。
早在北京第五、第六批供地清单里,东小口一直是以三块地联袂出现,分属三宗地块,被视为巨无霸。
但,它们最终都无声无息地下线了。(详见《昌平供地策略,雾里看花》)
大致原因是,一次性供应太大,一来拿地成本过高,二来会对市场带来冲击。当时,正值中海未来之境开盘前夕。

0001地块回炉再造时,花姐发现一个十分有意思的情况。
在“多规合一”协同平台审核意见的函中,原来的三宗地,只出现0001地块和0002地块,0005地块不见踪影。该函的落款时间为:2025年9月11日。
这表明,东小口三块地要彻底错开时间出让,下一个出场的,即0002地块。
不过,东小口地块的容积率太高了,在2.7-2.8之间,而且限高60米,楼栋排布的难度较大。
昌平土拍市场很卷,还有已上架的歇甲村0038、0046、0035、0043、0044、0045地块——占地6.35、建面10.46万平米、起拍价26亿元。
此外,第八批供地清单里,昌平又冒出了两块新地:
1、未来科技城南区0001、0002、0003等地块,占地4.3公顷,建面8.22万平米,起拍价12.426亿元,11月19日诞生结果;
2、平西府0002地块,占地3.59公顷,建面8.98万平米。
西红门供地玩"内卷"
第八轮供地最奇怪的事,莫过于西红门6037地块的出现。
它占地2.44公顷,建面5.62万平米。如果顺利进入预申请、转正,最迟也应在12月上旬完成出让。
而它东面一路之隔的6038地块,将于11月4日诞生买家。
满打满算,两块地出让的时间,至多相差1个半月。除双子座同时供地之外,如此相邻地块供地时间之紧密,是比较罕见的。
之前,丰台万泉寺和西郊冷库供地相差34天,最后中海地产为了护盘,只能全部吞下。
两个楼盘供地时间过近,必然会出现短兵相接的局面。

西红门板块实在太难了,前头有两个老大难。
一是中建壹品元启。它于2024年2月拿地、楼面价4.15万元/平米;2024年8月领预售证,2025年4月调规、增加奇偶阳台。
截至目前,它供应1052套,网签218套,均价5.31万元/平米,待售834套。(详见《中建壹品把它当作活马医》)
二是兴创置地6030地块。它于2024年9月拿地、楼面价3.387万元/平米;2025年6月调规、设置开敞阳台和建筑高度从45米上浮至60米。
10月13日刚出完报规图,规划10栋9-17层住宅楼、555户,93平米132套、105平米203套、136平米204套、顶层异型户型16套。(详见《拿地一年,这个楼盘赶上末班车》)
在西红门板块,6038地块堪称完美——用地规模约2.76公顷,规划地上建面约6.35万平米,起拍价19.04亿元,起始楼面地价为3万元/平米。地块东北角与地铁19号线西红门东站相连。
可以说,6038地块的到来,直接背刺了元启和6030地块。
现在,6037地块又加入战局。难道是为了掩护6038地块,顺利以底价被摘走?
一般来说,如果双子星不是同时供地,一般要等上一块地首次开盘之后,下一块地才会进入市场。
花姐点评
北京供地充满了不确定性。
看一下两组案例:
1、第六批供5宗地,结局是:3宗成交,2宗下架。
2、第七批供8宗地,结局是:3宗上架,3宗进入预申请,2宗还停留在供地清单里。
它们在披露供地清单时,拟供地时间为:近期。而今年前五期供地,则明确写了一月内的时间跨度。
从具体执行情况看,地块最终能否成功上架,依然没有定数。
这次第八轮9宗地,加上第七轮遗留的5宗地,共计14宗地。
最终,它们又有多少可以成功拍出呢?需要打一个大问号。
即便一些地块可以拍出,说不定哪天又加个补充文件,给地块减负或增加门槛,等等。
北京供地策略,正所谓是:计划赶不上变化。
上一篇:海淀低密新盘揭幕,限高破局
下一篇:松榆里地块42.5亿起拍,地铁旁能建什么房?