
大家好,这里是楼花网。
近日,朝阳黄杉木店双子补发了反馈意见。
核心事件:
· 朝阳黄杉木店双子豪宅项目补发规划反馈意见
· 官方明确:开敞阳台不封闭,按投影计面积
· 开盘3个多月后重申承诺,回应公众关切
为什么“不封闭”如此重要?
面积计算规则:
· 开敞阳台按水平投影面积一半计容
· 若封闭,则需100%计入产权面积
· 客户实际多得约5-10%使用面积
设备平台属于附属在建筑外围护结构上的构件,按规范要求设计,不计建面,承诺后期不封闭使用。
——北侧01、02地块(璞樾)
2025年8月19日至2025年8月27日方案公示,期间收到公众反馈意见6条,涉及到8个方面,:
1.关于幼儿园方案问题。
建设单位委托具有资质的设计单位进行托幼用地项目的总平面图等相关设计。消防、绿化、用地范围、平面布局等设计均符合相关规范文件要求。
2107-02幼儿园地块与2107-01住宅地块之间不设置出入口。幼儿园用地紧邻市政道路,且场地内部设置道路与外部公路相联通。幼儿园绿地率通过园林主管部门审核,绿地率满足不小于30%的设置要求。
幼儿园西侧与6#住宅楼垂直间距4.0米,相邻部分幼儿园外墙不设外窗,住宅1-4层主要生活用房朝向幼儿园方向不设外窗,双方互不干扰。
分局意见:建设单位意见属实,且幼儿园设计方案已通过教育主管部门审查,予以采信。
2.关于小区内装饰构架问题。
本项目西侧入口装饰构架为无顶盖的景观装饰构架,建设单位承诺不封闭;按相关规定,该装饰构件不计算建筑面积。
3.关于公示平面图表达问题。
建设单位委托具有资质的设计单位提供总平面图等设计文件,建筑间距、道路宽度、退线距离等均符合规范文件要求。
分局意见:本次设计方案公示内容主要为平面布局、立面效果等内容。我局在“多规合一”会商研究及规划许可办理时已对设计方案中间距、日照、内部路宽度等内容进行审查工作,设计方案符合相关规范要求。
4.关于开敞阳台和设备平台问题。
本项目户型设计符合相关要求,并综合考虑市场需求,面积计算符合相关规定。其中市民较为关注的开敞阳台按照水平投影面积计算,建设单位承诺后期不封闭使用;设备平台均属于附属在建筑外围护结构上的构件,按规范要求设计,承诺后期不封闭使用。
5.关于小区围墙设置问题。
建设单位将严格按照规划许可内容进行建设。
6.关于项目北侧出入口问题(体现交评内容)。
本项目用地北侧道路设置1个机动车出入口及2个临时消防出入口,项目用地北侧机动车出入口设置符合政策规范的要求。
7.关于电动自行车停放问题。
本项目电动自行车车库设置于8#住宅楼地下一层,非机动车库完全独立并设置消防设施,满足规范规定要求。
8.关于与北侧用地权益退线问题。
本项目在方案设计阶段已考虑与北侧待规划用地的建筑间距及用地权益退线,设计方案符合规划文件要求。
另2条与局职责无关的意见。
1.关于幼儿园招生问题。
本项目建设幼儿园按照相关要求,与住宅小区同步验收、同步交付使用。具体招生安排以朝阳区教委具体意见为准。
分局意见:有关幼儿园招生问题,建议进一步咨询教育主管部门。
2.关于后续销售宣传问题。
建设单位承诺在项目销售宣传推广过程中,将严格遵守法律法规要求。
分局意见:后续建设单位在销售过程中如出现宣传与实际情况不符情况,可向房管及市场监管部门反映。
——南侧03地块(紫京宸园)
2025年8月18日至2025年8月26日方案公示,期间收到公众反馈意见7条,涉及到十多个具体方面:
一、属于我局职责的意见
1.关于效果图表达问题。
效果图中显示为绿地及楼栋阴影,非人工湖,其中出现部分木质铺装为木栈道园林小品设施。
2.关于街坊路有关问题。
本项目依据挂牌文件要求,在项目用地内设置一条宽11米的南北向街坊路。本项目负责建设该街坊路,并依据相关规定负责对该街坊路后续养护和管理。
本项目街坊路设计贯彻落实“小街区、密路网”的理念,改善交通出行环境,塑造街道界面的连续性,打造舒适宜居的生活街区,曲线的道路动线与园区园林边界结合,提升街坊路通行感受,更好的形成城市慢行系统。
3.关于采光井有关问题。
本项目南侧采光井为地下库房自然通风窗井,进深1米,根据不同库房的功能需求,部分库房采用机械通风满足通风,另有部分地下室空间为无需设置窗井设备用房。15#住宅楼西侧通风井为有通风需求的设备用房使用,后期由物业统一管理和使用。
4.关于小区内装饰构架问题。
本项目西侧入口装饰构架为敞开式的景观装饰构架,建设单位承诺不封闭;按相关规定该装饰构件属于构筑物不计算建筑面积。
5.关于消防登高场地问题。
本项目沿住宅建筑一个长边连续布置消防车登高操作场地,部分登高操作场地在街坊路上,满足相关规范要求。本项目负责设计及建设该街坊路,并对该街坊路进行养护和管理。街坊路设计满足重型消防车的压力,并且在消防登高场地周边不设置妨碍消防车操作的树木、架空管线等障碍物。
6.关于绿地率问题。
本项目绿地率30.01%,装饰构架下绿地未计入绿地率,下沉庭院绿地率按相关计算规则进行计算。
分局意见:项目园林方案已通过园林主管部门审查,建设单位意见属实,予以采信。
7.关于6#住宅楼屋面是否为上人屋面问题。
本项目6#住宅楼结合整体立面风格及考虑天际线设计,顶部局部收分,收分部分屋面为不上人屋面,此屋面完成面有保温、防水等屋面做法及排水坡度,屋面高于室内完成面标高,不能到达。
8.关于公示平面图表达问题。
建设单位委托具有资质的设计单位提供总平面图等设计文件,建筑间距、退线距离等均符合规范文件要求。
分局意见:本次设计方案公示内容主要为平面布局、立面效果等内容。我局在“多规合一”会商研究及规划许可办理时已对设计方案中间距、日照、内部路宽度等内容进行审查工作,设计方案符合相关规范要求。
9.关于开敞阳台和设备平台问题。
本项目户型设计面积计算符合规范、标准的相关规定。其中市民较为关注的开敞阳台按照水平投影面积计算,本项目开敞阳台面积不大于套内10%,建设单位承诺后期不封闭使用;设备平台均属于附属在建筑外围护结构上的构件,按规范要求设计,不计入建筑规模,建设单位承诺后期不封闭使用。
10. 关于项目立面风格问题。
本项目立面采用三段式设计,材料选用石材、铝板、玻璃、涂料等高品质幕墙材料,部分造型线条部位采用圆弧设计元素,立面设计考究。
栏杆设计结合整体立面风格,采用金属栏杆,满足防护高度要求,并让立面效果更加通透。
效果图渲染表达与后期实际立面呈现效果有差异,实施过程中会进行进一步把控立面效果。
11. 关于对北侧幼儿园日照遮挡问题。
本项目方案中1#住宅楼与北侧幼儿园间距及日照满足相关要求。
12.关于室外设备场地问题。
本项目根据北京市城市管理委员会和发改委联合下发的通知,供热系统中“新能源和可再生能源设置装机占比不小于项目总装机的60%”,本项目设置了风冷热泵系统,室外设备场地为放置风冷室外机使用。
13. 关于项目出入口与道路交叉口间距问题。
本项目方案设计两处车行出入口,将主要车行出入口设置在地块北侧,距离西侧道路交叉口112m;次要车行出入口设置在地块东侧,距离北侧道路交叉口58m;设置一条11m宽街坊路,南侧、北侧开口分别距道路交叉口88m、78m。满足《交通影响评价审查意见》及相关设计规范。
其他出入口均仅为人行口,无车行功能。项目另在西侧和东侧共设置三处紧急消防入口,便于消防车进出,平时常闭,仅作为消防应急使用。
14. 关于下沉庭院楼梯形式问题。(顶盖、面积)
本项目下沉庭院为室外楼梯,此室外楼梯无顶盖,不计入建筑面积,楼梯消防疏散设计满足规范要求。
15. 关于14、15#住宅楼有关问题。
本项目14、15#住宅楼为两栋住宅楼贴建,相邻外墙为防火墙,其防火间距不限。两栋楼分别疏散,消防疏散设计满足规范要求。符合建筑间距计算的相关要求。
与分局职责无关的意见同样有2条,同样提到了后续销售宣传问题。
建设单位承诺在项目销售宣传推广过程中,将严格遵守法律法规要求。
此外还提到了配电室容量是否满足负荷相关的问题,建议进一步咨询电力主管部门。
——项目概况——
黄杉木店地块成交于2025年4月28日,由中建智地+中国金茂+越秀地产+朝阳城发联合体,以126亿元的底价摘得。
项目包括多幅子地块,其中住宅地块有两幅:2107-01、03地块,一南一北,容积率均2.6,限高80米。
南侧03地块:紫京宸园,中建智地操盘
项目总计规划15栋7-25层洋房、小高层和高层产品,共813户,层高3.16-3.4米。
面积段133㎡-278㎡区间,全四居户型,此外还有两套400㎡云端墅级顶配。
大户型友好,面积越大,赠送越多。
2025年10月12日正式开盘,目前网签150套,去化率18%。
成交均价9.83万元/㎡,网签金额总计24.66亿元。

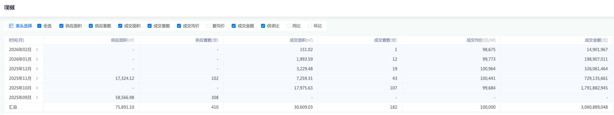
北侧01地块:璞樾,由金茂+越秀联合开发
住宅建面约7.75万㎡,规划9栋住宅楼,小高层为主,仅北排两栋为洋房。
共426户,面积段152㎡-258㎡全四居,共七种户型,层高约3.16-3.37米。
顶配建面虽然没有紫京宸园的大,但是起步就做到150㎡面积段。
面积段差距不大,大户型更多,整体具有均好性,圈层纯粹度更高。
赠送空间包括阳台、设备平台、挑空平台。此外还有独立电梯厅公区私用,整体下来得房率能做到90%以上。
已取证房源410套,拟售均价在11.46万-12.9万元/㎡区间,10月17日首开。
目前网签182套,去化率44%。
成交均价10万元/㎡,成交金额总计30.61亿元。

上一篇:大兴2026年狂供16宗宅地,建面超300万方!
下一篇:北京城建,又背刺老业主了