
大家好,这里是楼花网。
3月20日,北京润园二期9栋洋房取证。
为什么4个月能卖38亿?
北京润园二期120套洋房取证,空墅+平层双产品
拟售均价7.43万/㎡,较一期上涨超5000元
操盘手邬双喜,用实绩兑现“卖得好就敢涨价”的底气
流速真相:
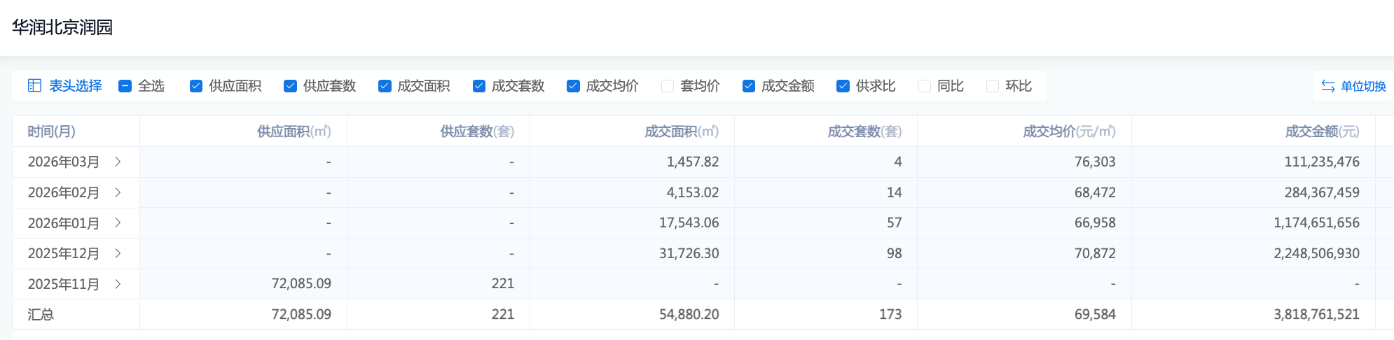
4个月(约120天)销售38亿,日均进账超3000万
在8-10万/㎡顶级改善市场,属“现象级统治力”
证明:在朝阳公园板块,润园已形成“寡头效应”
涨价逻辑:
一期均价6.9万/㎡ → 二期均价7.43万/㎡,涨幅约7.7%
支撑力:
口碑兑现:一期交付品质与圈层获市场认可
产品升级:二期新增空墅(一户两层)稀缺品类
市场回暖:顶豪购买力复苏,愿为确定性支付溢价
信号:真正的顶豪,敢于用价格上涨验证市场地位
邬双喜策略:
绝不贱卖:用一期流速证明价值,二期从容提价
产品分化:平层走量,空墅立标,实现利润最大化
圈层深挖:一期业主复购+推荐占比预计超30%
北京润园所在顺义温榆河2101-2007、2008地块,是由华润置地于2月27日以底价60.24亿元摘得,折合楼面价约3.5万元/㎡。
项目地上建面合计17.21万㎡,限高24米(局部27米),容积率仅1.01,堪称北京容积率最低的宅地之一。
项目规划用地面积17.04万㎡,总建面约36.78万㎡。其中计容建面17.21万㎡。
规划111栋住宅楼,共483户:19栋8层洋房+92栋双拼别墅。
一条东西走向的街坊路,将北侧洋房与别墅之间隔离开来。
华润置地北京公司直接负责项目开发,对该项目的重视程度可见一斑。
项目营销负责人邬双喜,是华润北京总经理陈海鸥的得力干将。
北京润园自2025年12月5日正式开盘以来,连续数月霸榜北京商品住宅成交金额榜。
一期推盘221套,包括:
· 双拼院墅产品,23栋46户,拟售均价9.48万元/㎡。
其中7栋990㎡户型、3栋905㎡、6栋763㎡,以及7栋700㎡。
· 10栋洋房,共175套,预售均价6.9万/㎡。
2栋空墅(复式),共16套,均价8万+,主力建面约329㎡,首层建面约300㎡。
8栋平层,共159套,包括建面271/328㎡两种户型,均价6.6万-7.1万/㎡。
截至3月20日,累计完成173套网签,取证房源去化近八成。
成交金额总计38.19亿元,地价款覆盖率63%。

从网签价格来看,北京润园的平层产品成交均价约6.5万元/㎡。
其中271㎡户型成交均价6.38万元/㎡;328㎡户型均价6.54万元/㎡。
空墅成交价在6.9万左右;院墅成交均价接近8.7万元/㎡。
所以整体算下来,目前项目的成交均价接近7万元的水平。
高价产品保证利润,平价产品激活流量,营销总邬双喜的这一手高低配玩得相当6。
在快速收回六成地价款后,剩下的二期产品推盘节奏就可以更从容一些。
此前就有消息称,二期洋房的价格会有所上涨,从预证信息来看,涨幅还不小,达到了7%以上。
按照规划,接下来还会有26栋52户院墅产品取证。
上一篇:丰台“国贤府”首批476套取证,均价4.99-5.54万/㎡!
下一篇:北京通州,一个神盘来了